С наступлением 2026 года многие пенсионеры могли заметить необычную ситуацию на своих счетах. В конце декабря 2025 года Социальный фонд России отметил новую волну привычных выплат: около 16,1 миллиона человек получили свои пенсии...
Все новости
При крушении частного вертолёта Robinson R44 погиб также его коллега Эльмир Коняков. Вертолёт совершал несанкционированный полёт в районе базы отдыха...
На этот раз в эпицентре стихии Молуккские острова (население около 3 миллионов человек).
ОБРАЩЕНИЕ К ИНТЕРНЕТ-ПОЛЬЗОВАТЕЛЯМ ЧЕЧЕНСКОЙ РЕСПУБЛИКИ!
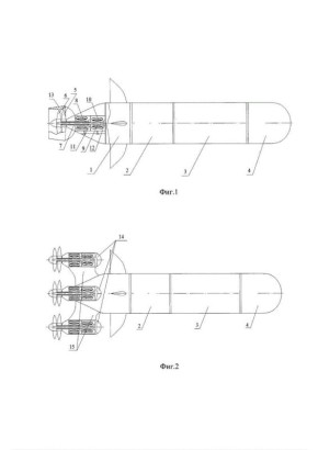
В России запатентован автономный необитаемый подводный аппарат модульной конструкции с обтекаемой гидродинамической формой.Разработка создана спецами из Черноморского высшего военно-морского ордена Красной Звезды училища имени П. С. Нахимова...
Сейчас программа в том числе включает социальные выплаты молодым семьям на приобретение или строительство жилья. Пары без детей могут получить субсидию в размере не менее 30% расчетной стоимости жилья. Семьям с детьми положено 35%. Чтобы...
Российские рыбаки выловили 2,1 млн тонн минтая, согласно данным Росрыболовства. Это лучший показатель за последние 25 лет.Россия является мировым лидером по добыче минтая. Его доля в национальном вылове превышает 40%. По итогам 2024 года было добыто...
В соцсетях распространяется видео, на котором протестующий в охваченном беспорядками Абданане меняет трафарет на стене дома.В стране продолжаются антиправительственные выступления.
Сенатор Грэм*, известный своими скандальными антироссийскими выступлениями, заявил, что президент США одобрил проект, над которым велась работа несколько месяцев.Линдси Грэм также отметил, что голосование по законопроекту может состояться уже на...
В одном из столичных храмов Украины выявлена нелегальная школа, где десятки детей обучаются по советским учебникам. Об этом сообщили местные журналисты.По данным издания, в «подпольной школе», организованной прихожанами, занимаются более...
Материалы по делу могут быть опубликованы полностью только после 2029 года. Причиной стала новая официальная оценка объема необнародованных документов, которую представило Министерство юстиции США.Пока обнародовано лишь около 12 300 документов...
Также в ведомстве потребовали от США обеспечить гуманное и достойное обращение с гражданами России на борту «Маринеры», соблюдать их права и интересы.Кроме того, в МИД России отметили, что США не должны препятствовать скорейшему возвращению на...
Великобритания по просьбе правительства США оказала помощь в захвате российского танкера «Маринера» — Минобороны королевства.// Грозный-Информ
Лидеры ЕС опубликовали совместное заявление по ситуации вокруг острова.Так, в тексте особо подчеркнуто, что безопасность в Арктике должна обеспечиваться «во взаимодействии с союзниками по НАТО, включая США на основе соблюдения принципов Устава...
Это произошло между Исландией и Британскими островами до того, как туда прибыли российские военные корабли и подводная лодка. Позднее европейское командование ВС США подтвердило задержание российского нефтяного танкера в Атлантическом океане...
На трех базах королевских ВВС в графствах Саффолк и Глостершир приземлились как минимум 14 транспортных самолетов C-17 Globemaster и два тяжеловооруженных судна огневой поддержки AC-130J Ghostrider.Globemaster могли доставить не менее пяти...
Это масштабное соревнование охватило все возрастные группы – от детей до опытных спортссменов, что позволяет поддерживать таланты на каждом этапе спортивного пути. Каждый выстрел с дистанции 18 метров – это результат долгих тренировок, где даже лёгкая...
По мере приближения к пенсионному возрасту многие россияне сталкиваются с проблемой нехватки индивидуальных пенсионных баллов для назначения страховой пенсии. Специалисты дают два основных решения этой проблемы...
В рамках стремительного изменения политики в Соединенных Штатах, власти находят новые пути для противодействия инициативам, связанным с разнообразием, равенством и инклюзивностью (DEI) в бизнесе. Как сообщает Wall Street Journal, новый...







































