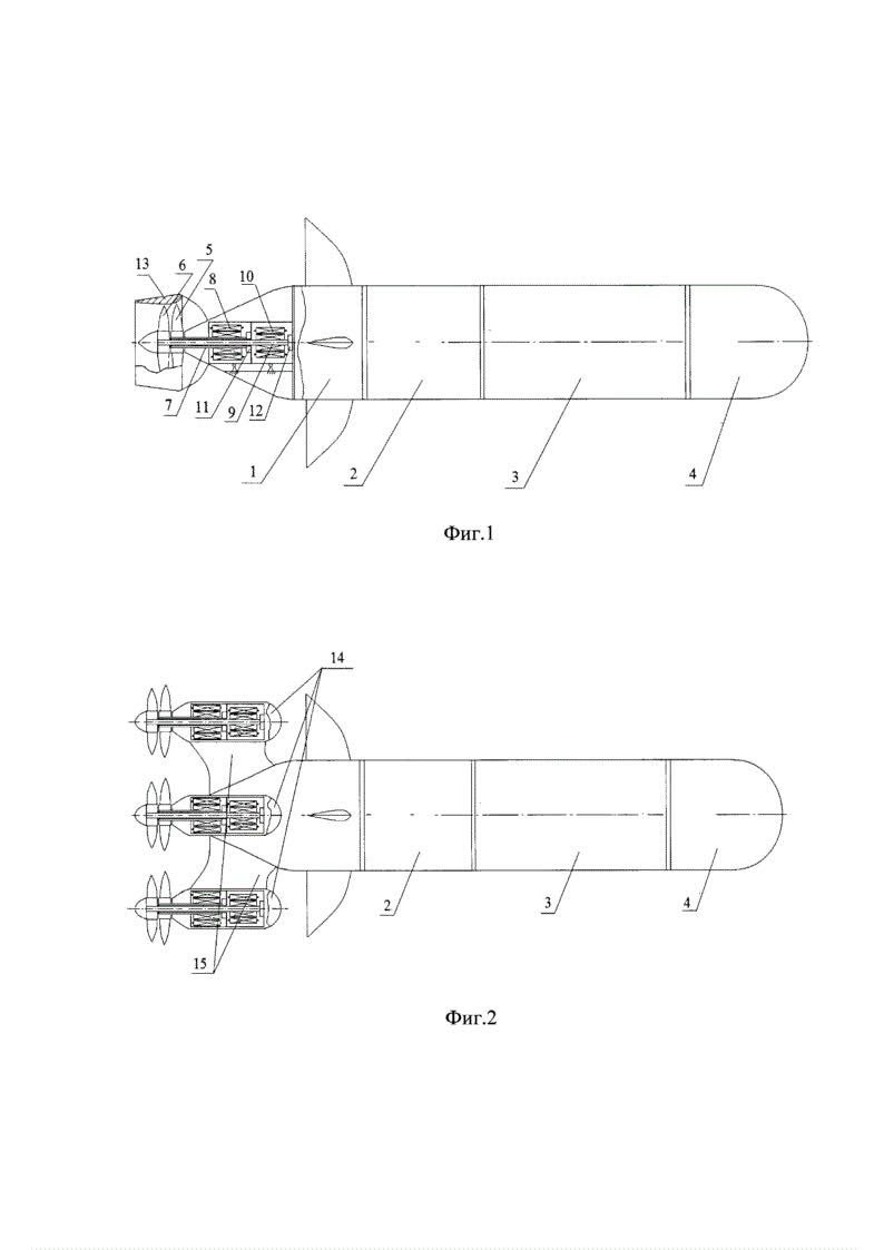
ВМФ России разработал уникальный беспилотник в форме торпеды.
В России запатентован автономный необитаемый подводный аппарат модульной конструкции с обтекаемой гидродинамической формой.
Разработка создана спецами из Черноморского высшего военно-морского ордена Красной Звезды училища имени П. С. Нахимова Минобороны России. Новинка предназначена для проектирования и производства подводных аппаратов с улучшенными движительными характеристиками и меньшим энергопотреблением.









































